本实用新型涉及危废处理设备技术领域,特别是涉及一种亚新集团官网处理设备。

背景技术:
喷淋塔是亚新集团官网处理的一种装备,亚新集团官网由风管引入喷淋塔,亚新集团官网与喷淋液进行气液两相充分接触吸收中和反应,亚新集团官网经过净化后,再经除雾板脱水除雾后由风机排入大气。吸收液在塔底经水泵增压后在塔顶喷淋而下,最后回流至塔底循环使用。
现有技术中,喷淋塔内的除雾设备除雾效果不理想,容易导致进入炭箱内的水汽较多,导致活性炭堵塞,影响吸附效果。
技术实现要素:
本实用新型所要解决的技术问题是:为了克服现有技术中的不足,本实用新型提供一种亚新集团官网处理设备。
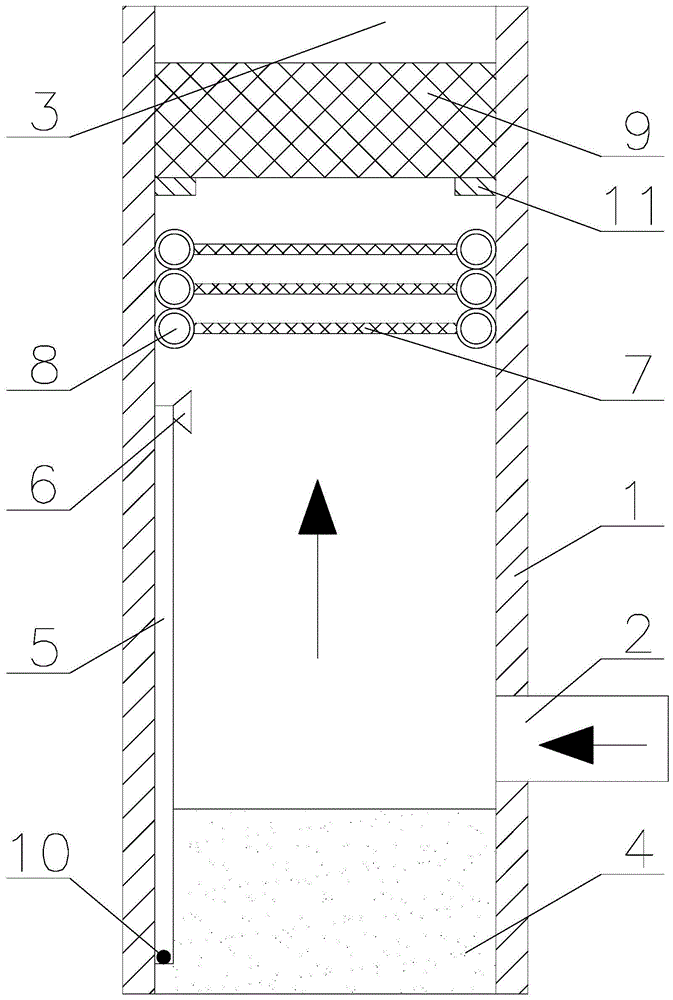
本实用新型解决其技术问题所要采用的技术方案是:一种亚新集团官网处理设备,包括喷淋塔以及设于喷淋塔内的除雾组件和吸附装置,所述喷淋塔下侧侧壁上设有进气通道,所述喷淋塔上端设有出气口,所述出气口处设有抽风机,所述喷淋塔底端设有储水槽,所述喷淋塔内壁面上设有多个水管,所述水管上端设有喷雾头,所述水管下端设于所述储水槽内,所述水管下端设有水泵,所述除雾组件包括至少三组除雾丝网,所述除雾丝网从下向上依次设于所述喷雾头上方,所述除雾丝网周向上设有一圈冷凝管,所述冷凝管上连接有换热系统,所述换热系统上设于所述喷淋塔外侧,所述吸附装置包括炭箱,所述炭箱设于所述除雾丝网上方,所述炭箱上下两端封设有纱布,所述炭箱内设有活性炭。
亚新集团官网通过进气通道进入喷淋塔内,喷淋塔出气口处设置抽风机用于将亚新集团官网向出气口方向抽出,在喷淋塔内形成上升气流;
水管上设置水泵用于将储水槽内的水抽出,并从喷雾头喷出雾化水,雾化水与亚新集团官网充分接触,将亚新集团官网中可溶于水的成分吸收;
亚新集团官网气流上升,进入除雾丝网内,除雾丝网用于将细小雾滴拦截,防止进入炭箱内的水汽较多,导致活性炭堵塞,影响吸附效果,而且活性炭堵塞后,会影响车间收集系统的工况风量,导致收集效率降低;
除雾丝网上设置一圈冷凝管用于对高温亚新集团官网降温,加强对细小雾滴的拦截效果,防止细小雾滴在高温亚新集团官网的影响下汽化,越过除雾丝网后液化进入炭箱内,导致活性炭堵塞,影响吸附效果;换热系统用于与冷凝管换热,保持冷凝管内冷却液的低温。
炭箱内设置活性炭用于吸收亚新集团官网中具有刺鼻气味的成分,炭箱上下两端设置纱布用于兜住活性炭的同时,不影响亚新集团官网进入炭箱内。
进一步,为了防止储水槽内的水有杂质,将喷雾头堵塞,所述水管下端设有滤网,所述水管内设有用于敲击所述滤网的铁球。滤网将水中杂质拦截在水管外,水管中水流的冲击力将铁球带动到一定高度,当滤网被堵塞时,水流冲击力减小,铁球下落,借着铁球的冲击力将滤网上的杂质震落,保证喷雾头的喷雾量。
进一步,为了方便更换炭箱,所述喷淋塔内壁面设有与所述炭箱配合的环形限位块,所述炭箱设于所述限位块上方。
本实用新型的有益效果是:本实用新型提供的一种亚新集团官网处理设备,采用喷淋塔内设置喷雾头和炭箱对车间内亚新集团官网进行处理,保证亚新集团官网收集处理效率。
附图说明
下面结合附图和实施例对本实用新型作进一步说明。
图1是本实用新型最佳实施例的结构示意图;
图2是炭箱的结构示意图。
图中:1、喷淋塔,2、进气通道,3、出气口,4、储水槽,5、水管,6、喷雾头,7、除雾丝网,8、冷凝管,9、炭箱,9-1、纱布,10、铁球,11、限位块。
具体实施方式
现在结合附图对本实用新型作详细的说明。此图为简化的示意图,仅以示意方式说明本实用新型的基本结构,因此其仅显示与本实用新型有关的构成。
如图1-2所示,本实用新型的一种亚新集团官网处理设备,包括喷淋塔1以及设于喷淋塔1内的除雾组件和吸附装置,所述喷淋塔1下侧侧壁上设有进气通道2,所述喷淋塔1上端设有出气口3,所述出气口3处设有抽风机,所述喷淋塔1底端设有储水槽4,所述喷淋塔1内壁面上设有多个水管5,每个所述水管5上端设有喷雾头6,所述喷雾头6朝向所述喷淋塔1轴线方向设置,所述水管5下端设于所述储水槽4内,所述水管5下端设有滤网,所述水管5内设有用于敲击所述滤网的铁球10,所述水管5下端与水泵输出端连接。
所述除雾组件包括三组除雾丝网7,所述除雾丝网7从下向上依次设于所述喷雾头6上方,所述除雾丝网7周向上设有一圈冷凝管8,所述冷凝管8上连接有换热系统,所述换热系统上设于所述喷淋塔1外侧。
所述吸附装置包括炭箱9,所述炭箱9设于所述除雾丝网7上方,所述炭箱9上下两端封设有纱布9-1,所述炭箱9内设有活性炭。所述喷淋塔1内壁面设有与所述炭箱9配合的环形限位块11,所述炭箱9放置于所述限位块11上端面上。
工作过程:
车间风机启动,将车间内产生的亚新集团官网收集进进气通道2内,亚新集团官网通过进气通道2进入喷淋塔1内,喷淋塔1出气口3抽风机启动,将亚新集团官网向出气口3方向抽出,在喷淋塔1内形成上升气流;
水管5上的水泵启动,将储水槽4内的水抽出,并从喷雾头6喷出雾化水,雾化水与亚新集团官网充分接触,将亚新集团官网中可溶于水的成分吸收;
亚新集团官网气流上升,进入除雾丝网7内,除雾丝网7用于将细小雾滴拦截,除雾丝网7上的水滴积少成多,最终重新落入储水槽4内;
除雾丝网7上的冷凝管8对被高温亚新集团官网汽化的水蒸气降温,形成细小雾滴,并凝结在除雾丝网7上,换热系统可以采用换热器与冷凝管8换热,保持冷凝管8内冷却液的低温。
炭箱9内设置活性炭用于吸收亚新集团官网中具有刺鼻气味的成分,当炭箱9内活性炭失效时,对炭箱9进行更换。
图1中箭头表示亚新集团官网流动方向。
本实用新型中方向和参照(例如,上、下、左、右、等等)可以仅用于帮助对附图中的特征的描述。因此,并非在限制性意义上采用以下具体实施方式,并且仅仅由所附权利要求及其等同形式来限定所请求保护的主题的范围。
以上述依据本实用新型的理想实施例为启示,通过上述的说明内容,相关的工作人员完全可以在不偏离本实用新型的范围内,进行多样的变更以及修改。本项实用新型的技术范围并不局限于说明书上的内容,必须要根据权利要求范围来确定其技术性范围。
技术特征:
1.一种亚新集团官网处理设备,其特征在于:包括喷淋塔(1)以及设于喷淋塔(1)内的除雾组件和吸附装置,所述喷淋塔(1)下侧侧壁上设有进气通道(2),所述喷淋塔(1)上端设有出气口(3),所述出气口(3)处设有抽风机,所述喷淋塔(1)底端设有储水槽(4),所述喷淋塔(1)内壁面上设有多个水管(5),所述水管(5)上端设有喷雾头(6),所述水管(5)下端设于所述储水槽(4)内,所述水管(5)下端设有水泵,所述除雾组件包括至少三组除雾丝网(7),所述除雾丝网(7)从下向上依次设于所述喷雾头(6)上方,所述除雾丝网(7)周向上设有一圈冷凝管(8),所述冷凝管(8)上连接有换热系统,所述换热系统上设于所述喷淋塔(1)外侧,所述吸附装置包括炭箱(9),所述炭箱(9)设于所述除雾丝网(7)上方,所述炭箱(9)上下两端封设有纱布(9-1),所述炭箱(9)内设有活性炭。
2.如权利要求1所述的亚新集团官网处理设备,其特征在于:所述水管(5)下端设有滤网,所述水管(5)内设有用于敲击所述滤网的铁球(10)。
3.如权利要求1所述的亚新集团官网处理设备,其特征在于:所述喷淋塔(1)内壁面设有与所述炭箱(9)配合的环形限位块(11),所述炭箱(9)设于所述限位块(11)上方。
技术总结
本实用新型提供一种亚新集团官网处理设备,包括喷淋塔、除雾组件和吸附装置,喷淋塔下侧侧壁上设有进气通道,喷淋塔上端设有出气口,出气口处设有抽风机,喷淋塔底端设有储水槽,喷淋塔内壁面上设有多个水管,水管上端设有喷雾头,水管下端设于储水槽内,水管下端设有水泵,除雾组件包括至少三组除雾丝网,除雾丝网从下向上依次设于喷雾头上方,除雾丝网周向上设有一圈冷凝管,冷凝管上连接有换热系统,换热系统上设于喷淋塔外侧,吸附装置包括炭箱,炭箱设于除雾丝网上方,炭箱上下两端封设有纱布,炭箱内设有活性炭。本实用新型提供的一种亚新集团官网处理设备,采用喷淋塔内设置喷雾头和炭箱对车间内亚新集团官网进行处理,保证亚新集团官网收集处理效率。
联系人:周先生
手机:13600648299
传真:0577-88602056
地址:浙江省温州市龙湾区永兴街道兴腾路6号
